Round industrial manway X1312MT
Round industrial manway X1312MT is available in diameters from DN150 to DN500.
The following design options are available for this manway:
- mild steel S235JR,
- stainless steel AISI 316L (passivated finish),
- stainless steel AISI 316L (polished finish).
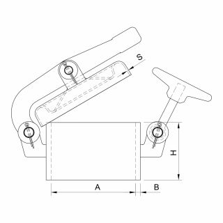
The manway is suitable for installation in the upper part (roof) of stainless steel tanks and other industrial equipment. The hinged arm allows the cover to be opened upwards. The manway handwheel ensures proper cover closure.
The design of the manway allows inspection of the interior of the chamber or tank in which the manway is installed.


The use of industrial manway X1312MT
The main areas of application for this type of manway are:
- non-pressure stainless steel tanks,
- industrial chambers,
- other process equipment used in industrial conditions.
When planning the use of this type of manway in a specific application, it is essential to consider the properties of the materials used in its construction to avoid problems with corrosion and resistance to temperature, as well as chemical factors.


Model | A (DN) [mm] |
H [mm] |
B [mm] |
MAX [bar] |
Weight [kg] |
Material | Finish |
---|---|---|---|---|---|---|---|
211 1312 MT |
100 | 70 | 6 | 0.8 | 2.4 | S235JR | - |
212 1312 MT |
100 | 70 | 6 | 0.8 | 2.4 | AISI 316L | passivation |
212 1312 MTP |
100 | 70 | 6 | 0.8 | 2.4 | AISI 316L | polishing |
211 2312 MT |
150 | 70 | 6 | 0.8 | 3.2 | S235JR | - |
212 2312 MT |
150 | 70 | 6 | 0.8 | 3.2 | AISI 316L | passivation |
212 2312 MTP |
150 | 70 | 6 | 0.8 | 3.2 | AISI 316L | polishing |
211 3312 MT |
200 | 70 | 8 | 0.8 | 5.1 | S235JR | - |
212 3312 MT |
200 | 70 | 8 | 0.8 | 5.1 | AISI 316L | passivation |
212 3312 MTP |
200 | 70 | 8 | 0.8 | 5.1 | AISI 316L | polishing |
211 4312 MT |
250 | 70 | 6 | 0.4 | 5.7 | S235JR | - |
212 4312 MT |
250 | 70 | 6 | 0.4 | 5.7 | AISI 316L | passivation |
212 4312 MTP |
250 | 70 | 6 | 0.4 | 5.7 | AISI 316L | polishing |
211 7312 MT |
350 | 70 | 6 | 0.1 | 8.2 | S235JR | - |
212 7312 MT |
350 | 70 | 6 | 0.1 | 8.2 | AISI 316L | passivation |
212 7312 MTP |
350 | 70 | 6 | 0.1 | 8.2 | AISI 316L | polishing |
Technical parameters
Product series | Series X |
---|---|
Shape | Round manways |
Type | Non-pressure manway |
Frame height (in mm) | 70 mm |
Frame wall thickness (in mm) | 6.0-8.0 mm |
Opening type | Outward |
Industry | Chemical |
Size | below DN300, DN300 - DN500 |
Mounting method | in the tank roof (top manways) |
Pressure | below 0.5 bar |
Vacuum pressure | not applicable |
PED certificate | no |
Steel grade | AISI 316/316L, Other |
Gasket material | EPDM, NBR, Silicone, Viton |
Handwheel material | Other |