Rectangular manway A654
The A654 vertical rectangular manway is equipped with a removable cover. The medium size and solid construction of the manway make it well suited for places where access to the inside of the tank does not need to be very frequent, or the tank is functioning with the cover removed. The manway allows the access opening to be quickly covered and sealed when needed.
This model has been designed to be installed in the upper side (roof) of stainless steel tanks. As standard, the A654 manway is manufactured from AISI 304 grade stainless steel, and optionally from AISI 316L grade steel. A wide range of elastomers used in the production of gaskets, allows the manway to be used for a wide range of working media (fluids, liquids).
The use of stainless steel rectangular manway A654
The main area of usage is:
- food industry,
- beverage and alcohol production,
- chemical and biotechnology industries,
- small tanks.
With good results, the manway is successfully installed wherever the parameters of the materials used for its construction allow its application.

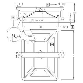
Model | A [mm] | B [mm] | HxSP1 [mm] | HT [mm]* | SP2 [mm] | MAX [bar]* | Weight [kg] |
---|---|---|---|---|---|---|---|
A654 | 405 | 275 |
50x6** 100x6 |
155 | 1.0 | 0.1 | 6.5 |
*For the standard version (HxSP1 = 50x6 mm).
**Standard version.
Symbol | Element |
---|---|
V | handwheel |
B | arm |
C | cover |
G | gasket |
T | frame |
Technical parameters
Product series | Series A |
---|---|
Size | M (longer manway side between 300-500 mm) |
Shape | Rectangular manways |
Type | Non-pressure manway |
Frame height (in mm) | 50-100 mm |
Frame wall thickness (in mm) | 6.0 mm |
Opening type | Outward |
Industry | Chemical, Food production |
Mounting method | in the tank roof (top manways) |
Pressure | below 0.5 bar |
Vacuum pressure | not applicable |
PED certificate | no |
Steel grade | AISI 304/304L, AISI 316/316L |
Gasket material | EPDM, NBR, Neoprene, Silicone, Viton |
Handwheel material | Plastic, INOX |