Rectangular manway A383
Rectangular vertical manway A383 with cover opening outside the tank. The small size and solid construction make the manway well suited for places where it is necessary to open the cover frequently to inspect the process. If necessary, the manway will also allow sampling, product filling or inserting of a washing ball.
This model was developed for installation in the side wall of stainless steel tanks. It can also be used as an upper manway, both in tanks and in other applications requiring increased corrosion resistance and small dimensions.
As standard, the A383 manway is manufactured from AISI 304 grade stainless steel, and optionally from AISI 316L grade steel. A wide range of elastomers used in the manufacture of gaskets, allows the manway to be used for a variety of working media (fluids, liquids).
The use of stainless steel rectangular manway A383
The main area of usage is:
- food industry,
- beverage and alcohol production,
- chemical and biotechnology industries,
- small tanks.
With good results, the manway is successfully installed wherever the parameters of the materials used for its construction allow its application.

Model | A [mm] | B [mm] | HxSP1 [mm] | HT [mm]* | SP2 [mm] | MAX [bar]* | Weight [kg] |
---|---|---|---|---|---|---|---|
A383 | 365 | 275 |
50x6** 100x6 |
170 | 1.0 | 0.4 | 7.25 |
*For the standard version (HxSP1 = 50x6 mm).
**Standard version.
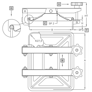
Symbol | Element |
---|---|
V | handwheel |
B | arm |
C | cover |
G | gasket |
T | frame |
Technical parameters
Product series | Series A |
---|---|
Size | M (longer manway side between 300-500 mm) |
Shape | Rectangular manways |
Type | Non-pressure manway |
Frame height (in mm) | 50-100 mm |
Frame wall thickness (in mm) | 6.0 mm |
Opening type | Outward |
Industry | Chemical, Food production |
Mounting method | in the tank roof (top manways), in the tank side wall (side manways) |
Pressure | below 0.5 bar |
Vacuum pressure | not applicable |
PED certificate | no |
Steel grade | AISI 304/304L, AISI 316/316L |
Gasket material | EPDM, NBR, Neoprene, Silicone |
Handwheel material | Plastic, INOX |