Stainless steel oval manway C13
The C13 oval manway (310x440) is installed in the roof or side of a stainless steel tank. The shape of the manway, as well as its size and pressure parameters, allow it to be installed in tanks of various capacities and applications.
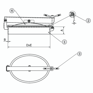
The manway cover is equipped with a solid hinge, so that it opens smoothly and safely. The hinge is also designed to stabilize the opened cover, which in effect makes it easier to perform daily maintenance works.
Thanks to its multipurpose character, the C13 model is successfully used in all types of industrial applications requiring increased corrosion resistance. As with any manway, when planning to use a C13 oval manhole in a specific application, it is essential to consider the properties of the materials and components used in its construction.
Oval manways C13 - application
Oval manway C13 is installed in pressure tanks for various purposes. The main areas of application of this manway model are:
- food and dairy industry,
- beverage and alcohol production industry,
- vegetable and fruit processing.
Due to its universal design and wide range of available sealing materials, this manway can also be used in the areas of:
- biotechnology,
- chemical industry,
- cosmetic industry and similar areas.

Model | A [mm] |
B [mm] |
C [mm] |
DxE [mm] |
MAX [bar] |
---|---|---|---|---|---|
C13 | 80 | 6 | 2 | 322x452 | 0.8 |
Symbol | Element |
---|---|
1 | frame |
2 | gasket |
3 | handwheel |
4 | cover |
Technical parameters
Product series | Series C |
---|---|
Size | M (longer manway side between 300-500 mm) |
Shape | Oval manways |
Type | Pressure manway |
Frame height (in mm) | 80 mm |
Frame wall thickness (in mm) | 6.0 mm |
Opening type | Outward |
Mounting method | in the tank roof (top manways), in the tank side wall (side manways) |
Pressure | 0.5 - 2.5 bar |
Vacuum pressure | not applicable |
PED certificate | no |
Steel grade | AISI 304/304L, AISI 316/316L |
Gasket material | EPDM, NBR, Silicone, Viton |
Handwheel material | INOX |